Электродвигатели АРМ
Электродвигатели серии АРМ применяются для приводов, эксплуатирующихся в условиях высоких температур металлургического производства, в частности, для индивидуального привода роликов рольгангов, для комплектации приводов, кабельных барабанов, башенных кранов, а также других приводов на металлургических предприятиях. Изготавливаются в различных климатических исполнениях, по требованию заказчика.
Конструктивное исполнение электродвигателей - закрытое с естественным воздушным охлаждением через ребристые поверхности станины и подшипниковых щитов.
Степень защиты IP 54 по ГОСТ IEC 60034-5-2011. Режим работы S1. Конструктивное исполнение по способу монтажа IM1001, 1002, 3001 по ГОСТ 2479-79.
Гарантия - 2 года с даты ввода в эксплуатацию, но не более 3 лет с даты продажи при наработке до 10 000 часов.
Декларация соответствия на рольганговые электродвигатели ENERAL серии АРМ
|
Тип |
Pн | nн | Iн | КПД | cosф | Jp | М пуск | I пуск | Динамич.пост. | Вес |
|---|---|---|---|---|---|---|---|---|---|---|
| кВт | об/мин | A | % | кг.м2 | Н.м | A | кг.м2/час | кг | ||
| APM42-4 | 1,1 | 1390 | 2,5 | 79,5 | 0,86 | 0,048 | 18,2 | 12,2 | 130 | 85 |
| APM43-4 | 1,5 | 1400 | 3,3 | 81,9 | 0,86 | 0,054 | 28,4 | 19,2 | 150 | 85 |
| APM42-6 | 0,9 | 940 | 2,4 | 78,8 | 0,74 | 0,053 | 23,2 | 11,5 | 260 | 85 |
| APM43-6 | 1,2 | 940 | 3,1 | 79,8 | 0,76 | 0,060 | 30,6 | 15,6 | 310 | 85 |
| APM43-8 | 0,9 | 670 | 2,7 | 74 | 0,72 | 0,060 | 32,2 | 9,8 | 480 | 85 |
| АРМ43-10* | 0,63 | 530 | 3,5 | 55 | 0,5 | 0,0158 | 34 | 7 | 650 | 85 |
| APM43-12 | 0,4 | 460 | 3,5 | 56 | 0,36 | 0,066 | 22,5 | 7,2 | 800 | 85 |
| АРМ52-4* | 3 | 1350 | 6,3 | 80 | 0,9 | 0,053 | 67 | 32 | 210 | 121 |
| APM52-6 | 2 | 940 | 4,7 | 83,3 | 0,79 | 0,100 | 51 | 24,4 | 520 | 121 |
| АРМ52-8* | 1,6 | 645 | 4,9 | 71 | 0,7 | 0,053 | 58 | 15 | 850 | 121 |
| АРМ52-10* | 1,3 | 530 | 4,1 | 68 | 0,56 | 0,053 | 67 | 14 | 1200 | 121 |
| АРМ52-12* | 1 | 440 | 5 | 62 | 0,46 | 0,053 | 60 | 12 | 1510 | 121 |
| APM53-6 | 3 | 940 | 6,8 | 84,6 | 0,79 | 0,132 | 85,8 | 39,5 | 610 | 133 |
| АРМ53-8* | 2,5 | 660 | 6,2 | 75 | 0,69 | 0,076 | 96 | 25 | 1000 | 133 |
| АРМ53-10* | 2 | 530 | 7,2 | 70 | 0,54 | 0,076 | 96 | 20 | 1440 | 133 |
| APM53-12 | 1,6 | 460 | 8,5 | 73,2 | 0,42 | 0,155 | 83,6 | 23,6 | 1780 | 133 |
| АРМ63-8* | 3 | 680 | 8,4 | 78 | 0,78 | 0,350 | 125 | 28 | 1330 | 220 |
| АРМ63-10* | 2,5 | 545 | 8.0 | 74 | 0,65 | 0,350 | 134 | 26 | 2000 | 220 |
| АРМ63-12* | 1,9 | 450 | 7,8 | 70 | 0,52 | 0,350 | 128 | 23 | 2800 | 220 |
| АРМ63-16* | 1,4 | 340 | 9,4 | 57 | 0,4 | 0,350 | 125 | 20 | 4100 | 220 |
| АРМ64-6* | 5,5 | 890 | 12 | 80 | 87 | 0,460 | 210 | 70 | 950 | 220 |
| АРМ64-8* | 3,6 | 680 | 9,5 | 77 | 0,75 | 0,460 | 180 | 40 | 1500 | 220 |
| APM64-10 | 3 | 550 | 8,8 | 82,2 | 0,66 | 0,530 | 140,8 | 41,5 | 2400 | 220 |
| APM64-12 | 2,4 | 460 | 9,5 | 79,2 | 0,5 | 0,568 | 137,5 | 38,8 | 3050 | 220 |
| АРМ64-16* | 1,7 | 340 | 10,2 | 55 | 0,38 | 0,460 | 190 | 27 | 4500 | 220 |
| АРМ73-10* | 5 | 545 | 13,4 | 79 | 0,72 | 0,770 | 285 | 56 | 3000 | 460 |
| АРМ73-12* | 4,2 | 450 | 13,5 | 79 | 0,6 | 0,770 | 270 | 48 | 4000 | 460 |
| АРМ73-16* | 3 | 340 | 15 | 70 | 0,44 | 0,770 | 268 | 39 | 6000 | 460 |
| АРМ74-10* | 6,7 | 535 | 15,8 | 80 | 0,73 | 1,010 | 425 | 70 | 3100 | 460 |
| АРМ74-12* | 5,3 | 455 | 15,1 | 79 | 0,6 | 1,010 | 450 | 67 | 4300 | 460 |
| АРМ74-16* | 4 | 340 | 17,2 | 71 | 0,4 | 1,010 | 425 | 58 | 6800 | 460 |
| APM74-30 | 1 | 180 | 15,8 | 46,5 | 0,21 | 1,592 | 175,2 | 22,4 | 14000 | 460 |
Конструктивное исполнение IM 1001, 1002

| Тип | Габаритные размеры | Установочные и присоединительные размеры | ||||||||||||||||||
|---|---|---|---|---|---|---|---|---|---|---|---|---|---|---|---|---|---|---|---|---|
| l30 | d30 | h30 | b31 | b1 | b10 | d1 | d10 | l1 | L31 | h | h1 | h5 | l10 | d34* | b11 | L12 | L34 | h10 | h34 | |
| L | AC | F | A | D | K | E | C | H | GD | GA | B | AB | HA | |||||||
| АРМ42, 43 | 475 | 265 | 258 | 200 | 10 | 210 | 32 | 15 | 80 | 100 | 125 | 8 | 35 | 150 |
|
260 | 52 | 270 | 22 | 34 |
| АРМ52, 53 | 600 | 318 | 329 | 232 | 12 | 285 | 40 | 19 | 110 | 117 | 170 | 8 | 43 | 200 |
|
340 | 62 | 353 | 30 | 79 |
| АРМ63, 64 | 650 | 405 | 403 | 288 | 14 | 350 | 50 | 19 | 110 | 138 | 200 | 9 | 53,5 | 270 |
|
425 | 105 | 374 | 35 | 84 |
| АРМ73, 74 | 760 | 508 | 470 | 290 | 18 | 400 | 60 | 24 | 140 | 151 | 250 | 11 | 64 | 340 |
|
485 | 132 | 461 | 40 | 155 |
| АРМ83, 84 | 955 | 590 | 535 | 335 | 20 | 490 | 75 | 32 | 140 | 188,5 | 280 | 12 | 79,5 | 480 |
|
585 | 140 | 605 | 50 | 175 |
Конструктивное исполнение IM 3001

| Тип | Габаритные размеры | Установочные и присоединительные размеры | |||||||||||||||||
|---|---|---|---|---|---|---|---|---|---|---|---|---|---|---|---|---|---|---|---|
| l30 | d30 | d24 | b31 | b1 | d1 | d20 | d22 | d25 | l1 | l20 | h1 | h5 | n | d34* | L21 | L34 | L39 | h35 | |
| L | AC | P | F | D | M | S | N | E | T | GD | GA | R | |||||||
| АРМ42, 43 | 475 | 265 | 220 | 200 | 10 | 32 | 185 | 15 | 150 | 80 | 4 | 8 | 35 | 4 | G1-A | 18 | 270 | -13 | 91 |
| АРМ52, 53 | 600 | 318 | 305 | 232 | 12 | 40 | 255 | 19 | 215 | 110 | 4 | 8 | 43 | 4 | G1-A | 14 | 353 | -12 | 130 |
| АРМ63, 64 | 650 | 405 | 400 | 288 | 14 | 50 | 350 | 19 | 300 | 110 | 5 | 9 | 53.5 | 8 | G1 ¼‑A | 18 | 274 | 13 | 240 |
| АРМ73, 74 | 760 | 508 | 450 | 287 | 18 | 60 | 400 | 19 | 350 | 140 | 5 | 11 | 64 | 8 | G1 ¼‑A | 20 | 461 | 16 | 84 |
ВАЖНО: указанные размеры являются справочной характеристикой. Производственная группа ЭНЕРАЛ имеет право вносить изменения в конструкцию электродвигателя, в результате чего фактические габаритные и присоединительные размеры могут отличаться от значений в каталоге или на сайте. Данные отличия не влияют на эксплуатационные характеристики оборудования.


*Сторона привода.
** Малый фланец - щит с отверстиями в корпусе электродвигателя. Крепление к оборудованию винтами.
В зависимости от габарита электродвигателя некоторые монтажные исполнения могут быть недоступны.
Возможно производство электродвигателей в других монтажных исполнениях, не указанных в таблице.

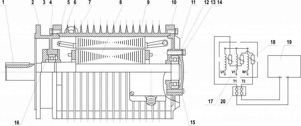
Электродвигатель состоит из сердечника с катушками (9), запрессованного в станину,ротора (8), закрепленного в заднем подшипниковом узле стопорным кольцом (15), установленного в подшипниковых щитах (2,10), которые закреплены к станине болтами (3,4) на подшипниках качения (5), вводного устройства (17) и крышек подшипниковых щитов (6,12), закрепленных к щитам болтами (13,14), шпонки (1), масленки (11) и рым-болта (7).
В электродвигателе применены изоляционные материалы соответствующие по нагревостойкости классу "Н". Обмотка статора выполнена из мягких секций. Станина, подшипниковые щиты и подшипниковые крышки, а также корпус вводного устройства выполнены из чугунного литья. Для предохранения от попадания пыли и грязи в подшипники, крышки снабжены уплотнениями (16).
Вводное устройство состоит из коробки выводов имеющей силовую клеммную панель на три выводных конца панель для подключения терморезисторов (20) и фланцы с одним штуцером для подсоединения к сети с помощью газовой трубы или гибкого ввода. Для заземления у двигателей серии АРМ на станине имеются заземляющие зажимы. Имеются отверстия для стока конденсата.
Электродвигатели поставляются с рабочей смазкой в подшипниках, обеспечивающей их работу в течение 2000-4000 часов. Для пополнения смазки в конструкции двигателя с открытми подшипниками предусмотрены масленки (11). Для предохранения деталей двигателя от коррозии применены гальванические и лакокрасочные покрытия.
Для удобства подключения устройств защитного отключения (19) при перегреве все электродвигатели серии АРМ оснащены терморезисторами (18), встроенными в обмотку электродвигателя пофазно.
Электродвигатели асинхронные трехфазные изготавливаются на номинальные напряжения: 380, 660, 220/380, 380/660В при частоте 50 Гц по ГОСТ IEC 60034-1-2014.
Возможно изготовление на другие номинальные напряжения и на частоту 60Гц, по согласованию с заказчиком.
Однофазные двигатели предназначены для работы от сети переменного тока напряжением 220 В частотой 50 Гц.
Степень защиты обозначается IP…по ГОСТ IEC 60034-5-2011.
Для примера обозначение IP55 это электродвигатель, защищенный от пыли и водяных струй со всех направлений.
Электродвигатели общепромышленного назначения могут работать в различных режимах в соответствии с ГОСТ IEC 60034-1-2014 и обозначается S…(1, 2, 3, 4, 5, 6, 7, 8), где:
S1 – продолжительный режим работы
S2 – кратковременный режим работы
S3 – периодический повторно-кратковременный режим работы
S4 – периодический повторно-кратковременный режим работы с влиянием пусковых процессов
S5 – периодический повторно-кратковременный режим работы с влиянием пусковых процессов и электрическим торможением
S6 – перемежающийся режим работы
S7 – периодический перемежающийся режим работы с влиянием пусковых процессов и электрическим торможением
S8 – периодический перемежающийся режим работы с периодически меняющейся частотой вращения
Двигатели могут использоваться в макроклиматических районах с климатом в условиях определяемых категориями размещения по ГОСТ 15150-69.
Климатические факторы
| Климатическое исполнение | Категория размещения | Верхнее значение рабочей температуры, °С | Нижнее значение рабочей температуры,°С | Максимальное значение относительной влажности, % |
|---|---|---|---|---|
| У | 1,2 | +40 | -45 | 100 при 25°С |
| У | 3 | +40 | -45 | 98 при 25°С |
| УХЛ | 4 | +35 | +1 | 80 при 25°С |
| Т | 2 | +50 | -10 | 100 при 25°С |
| ХЛ, УХЛ | 1,2 | +40 | -60 | 100 при 25°С |
Электродвигатели с нормальным КПД и электродвигатели с повышенным КПД (энергосберегающие), и соответственно обозначение класса энергетической эффективности по международному стандарту IEC 60034-30:
IE1 - "стандартный" класс КПД;
IE2 - "повышенный" класс КПД;
IE3 - "премиум" класс КПД;
IE4 - "суперпремиум" класс КПД.
